过滤知识

回油过滤器|油过滤器 结构简介

2019-03-22

回 油过滤器

回 油过滤器简称回油滤,在液压系统设计中,将它的下半体安置在油箱以内,(详细见下图回 油过滤器的安装示意图)。

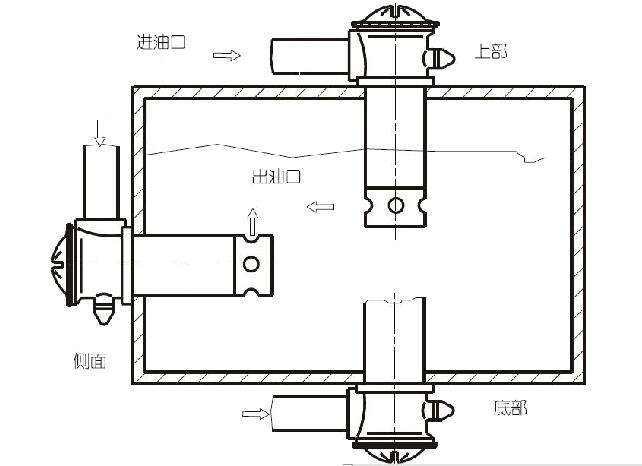
回油过滤器油箱结构图

回 油过滤器图纸

在工程机械设备液压系统,因为回 油过滤器的工作流量大,压力低,回 油过滤器的设计都是壳体比较大的,进口的尺寸也大,壳体的材料大都是轻型铝合金材质。,甚至有些人主张在系统中只在回 油过滤器回油管线设置回 油过滤器,即:回油滤足能提升整体系统清洁度。

回 油过滤器主要是防止工作系统产生的和外部侵入的杂质颗粒回到油箱,免除了由于他们再进入油泵而带来的磨损危害。它有时在油箱加油时称为加油过滤器。所以他的过滤精度不会高于10μm。精度为2510μm者居多。

自油泵壳体一侧引出的回油线路是将冷却油泵的油液导回油箱。由于这条线路的油液包含了*大部分油泵磨损颗粒,他是系统中*脏的油路,也被称之为液压系统的污染源。还有一种意见是加强回 油过滤器的设计与管理。例如:提高回 油过滤器的过滤精度,提高纳污量和降低压降。降低压降是防止泵的内腔产生过高的反压。

有些设计人员并不知道这一回油过滤技术作用,为了压降的减小,采用编织网滤芯以求低压降。然而,编织网过滤滤芯不能阻截30μm以下的硬质颗粒。它属于表面型过滤,所以网孔堵塞很快,没有足够的纳污量,于是滤芯压扁的可能性很大。

导航栏目

联系我们

联系人:王经理

手 机:1567056000113183108783

邮 箱:sales@cl-filter.com

公 司:新乡市亚洲必赢过滤技术有限公司

地 址:河南省新乡市创业路1号高新技术产业园

关闭
用手机扫描二维码关闭
过滤器二维码
在线客服系统