过滤知识

过滤器的过滤应该如何分类

2019-04-02


过滤的分类

过滤器的过滤是利用过滤介质将固体和液体分离的单元操作,可分为澄清过滤和滤饼过滤

过滤器,过滤分类

过滤器的澄清过滤又分为以下四类:

(1)颗粒过滤(PFparticle filtration);

(2)微孔过滤(MFmicro filtra-tion);

(3)超过滤(UFutra filtration);

(4)反渗透(ROreverse osmosis)。其中,颗粒过滤又称内部过滤(inner filtration或深层过滤(deep or depth filtration)或粒状层过滤( granular bed filtration)

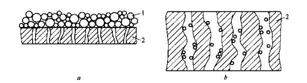
滤饼过滤又称表面过滤(surface fitraion)。过滤时,先由滤布等的表面截留悬浮颗粒,而后由逐渐增厚的滤饼继续截留颗粒。其操作目的主要是对悬浮液进行浓缩及回收固体。

滤饼过滤和深层过滤的模型“两种不同的过滤方式示意图”。

过滤器厂家过滤方式

a-滤饼过滤;b-深层过滤

1-(过滤器)滤饼;2-过滤器)过滤介质


不同颗粒尺寸所对应的过滤分离方式

颗粒的尺寸和对应的过滤分离方式


(咨询过滤器,油过滤器、空气过滤器,过滤器型号,滤芯、滤材请致电咨询我公司新乡市亚洲必赢过滤技术有限公司。)



导航栏目

联系我们

联系人:王经理

手 机:1567056000113183108783

邮 箱:sales@cl-filter.com

公 司:新乡市亚洲必赢过滤技术有限公司

地 址:河南省新乡市创业路1号高新技术产业园

关闭
用手机扫描二维码关闭
过滤器二维码
在线客服系统